Natynkowa armatura umywalkowa MODUS E
Zakres dostawy
- Armatura z wylewką ścienną z czujnikiem podczerwieni
- Odcięcie wstępne
- Regulator strumienia
- Komora baterii 6 V (zintegrowana)
- Elektronika czujnika podczerwieni, programowalna
- 4x AA baterie alkaliczne 1,5 V
- Rozeta przesuwna
Dane dotyczące dostawy
- Waga: 1,22 kg/szt.
- Jednostka wysyłkowa: 1
Dane techniczne
- Możliwość programowania zbliżeniowego
- Obszar zasięgu czujnika (ok. 2 - 13 cm)
- Przepłukiwanie antystagnacyjne (wył. / przepływ 30 s, 24 h od ostatniego użycia)
- Blokada na czas sprzątania (wył. / 120 s)
- Przepływ: maks. 1 gpm ≈ 3,8 l/min
- Ciśnienie robocze: 0,5 - 5,0 bar
- Maks. ciśnienie statyczne: 8 bar
- Maks. temperatura robocza: 70 °C (przy dezynfekcji termicznej 80 °C max. 10 min./dzień)
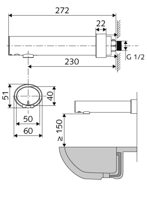
- Przyłącze: G 1/2 GZ
- Materiał: Obudowa Mosiądz do wody pitnej
- Powierzchnia: Chrom
- 230 mm
- Certyfikaty: P-IX 29862/IO, WRAS
- null: I
- Klasa przepływu: O
Osprzęt zalecany
- Produkt wycofany z produkcji, dostępny do wyczerpania zapasów.
Schell tekst przetargowy
HD-K mid. - wysokie ciśnienie woda zimna / woda wstępnie zmieszana
Armatura bezdotykowa sterowana czujnikiem z innowacyjną technologią ToF. Nie...
HD-M mid. - wysokie ciśnienie mieszacz, ThermoProtect termostat
Armatura bezdotykowa sterowana czujnikiem z innowacyjną technologią ToF. Nie...
HD-M mid. - wysokie ciśnienie mieszacz
Sterowany czujnikiem podczerwieni. Bez zasilania prądem. Przeznaczony do...























![[Translate to Polish:] [Translate to Polish:]](/fileadmin/user_upload/images/menu/menu_service_downloads_broschueren.jpg)







![[Translate to Polish:] [Translate to Polish:]](/fileadmin/_processed_/7/7/csm_menu_unternehmen_ueber-schell_awards_f6cec25b1d.jpg)
![[Translate to Polish:] [Translate to Polish:]](/fileadmin/_processed_/a/0/csm_menu_unternehmen_ueber-schell_wasser-sparen_41036d2dd9.jpg)



